在三维芯片(3D-IC)的生产研发过程中,需要对不同工艺和条件下制备得到的控片或者后段制程(BEOL)的晶圆中的膜层结合力(或称“键合强度”,bonding strength)进行评估,这对工艺制程调整和最终产品抗失效能力的确定有着十分重要的意义。
目前,对多层薄膜的膜层间键合强度的评估方法主要包括双悬臂梁拉伸法(DCB)和划痕法(Scratch)等方法。其中,双悬臂梁拉伸法是一种宏观的键合强度测试方法,具体通过用夹具夹住上下两侧基底,而后拉伸,通过测试膜结构脱层所需要的载荷表征键合强度;划痕法是一种微观的键合强度测试方法,通过给针尖施加一个横向力使之划过薄膜表面,同时对其施加一个逐渐增加的纵向载荷,针尖在划动过程中刺入薄膜,并通过摩擦力对薄膜施加侧向力使之与基底或者下层薄膜发生脱层,通过记录脱层时所需要的临界载荷(Critical load)可以表征膜层结合力。其中,临界载荷是测试曲线出现特征变化时所对应的载荷,在划痕法中指载荷-位移曲线出现明显波动时对应的载荷。
然而,目前膜层间键合强度的评估方法存在以下不足:一方面,划痕法并不适用表面粗糙度较大或者结构不均匀的薄膜,表面起伏或者晶界会导致针尖在横向移动时发生载荷波动,干扰到对脱层临界载荷的捕捉;不适用场景包含且不限于Cu、Al等金属薄膜,某些粗糙度较高的薄膜。另一方面,双悬臂梁拉伸法侧重于宏观结合力测试,并且可能存在多层膜间结合强度大于粘结胶强度的可能性,在某些膜结构的测试中可能不适用。
在一些实施例中,提出了通过压痕法测量膜层结合力的技术方案;这里,压痕法具体例如为纳米压痕法(Nano indentation)。通过可控载荷使压针压入薄膜中,实时测量压痕深度,压痕设备的传感器具有纳米(nm)级位移和微牛(μN)级载荷分辨率,适用于测量薄膜、涂层等超薄层材料力学性能。压痕法的基本原理是压针的针尖压入薄膜中,随着载荷增加,表层薄膜发生弯折、裂缝(crack)、膜/基错移和脱层,在这一过程中记录压入时的载荷-位移曲线,脱层产生位移突进(Pop-in)时所对应的载荷被称为临界载荷,其可以反映膜结构在剪切应力为主应力状态下抵抗脱层的能力。这里,记录的位移即为针尖压入薄膜中的深度,因此,载荷-位移曲线具体指载荷与深度的对应关系变化曲线;位移突进具体指压痕的深度发生突变,具体在载荷-位移曲线中,在极短时间内载荷几乎没有变化情况下出现位移突然增加的现象。本申请下文表述中不对“位移突进”和“深度发生突变”进行区分,二者均可以称为“Pop-in”。脱层(Delamination)是指膜结构之间的界面发生破坏,产生膜层之间或者膜层与基底分离的现象。
由于在薄膜产生裂缝或者脱层时,均会产生一定程度的位移突进,即所述曲线上所述压痕的深度发生突变;因此,在实际测试中可能会出现将产生裂缝时的位移突进所对应的载荷错误的确定为脱层的临界载荷的情况,导致膜层结合力的测试得到错误的结论。
基于此,本申请实施例提供了一种膜层结合力的测试方法;具体请参见附图1。如图所示,所述方法包括以下步骤:
步骤S01、采用压头压向测试样品的选定位置,在所述选定位置处形成压痕;
步骤S02、增大施加在所述压头上的载荷以加深所述压痕的深度,并获得所述载荷与所述深度的对应关系变化曲线,直至所述曲线上包含至少两个所述压痕的深度发生突变的点;
步骤S03、根据所述曲线确定与至少两个所述点相对应的至少两个载荷;
步骤S04、将所述测试样品制备成满足以下条件的透射电镜检测样品:在采用透射电镜观测所述透射电镜检测样品时能够观测到所述压痕的横截面的微观形貌;
步骤S05、采用透射电镜观测所述压痕,根据所述微观形貌确定所述至少两个载荷分别对应的膜层损伤类型。
可以理解的,通过本申请实施例提供的膜层结合力的测试方法,可以更为准确地确定在执行压痕法后实际产生的膜层损伤类型,从而避免膜层结合力的测试得到错误的结论。应当说明的是,本申请技术方案中,将所述测试样品制备成满足以下条件的透射电镜检测样品:在采用透射电镜观测所述透射电镜检测样品时能够观测到所述压痕的横截面的微观形貌,从而不同于在压痕实验后原位进行电镜观测的方法,可以更为清晰地观测到所述压痕的横截面的微观形貌,进一步提高了膜层损伤类型判断的准确性。
不仅如此,如果采用在压痕实验后原位进行透射电镜观测的方法,那么,测试样品需要直接满足透射电镜对样品的尺寸要求,从而只能测试纳米尺寸的小尺寸样品,在表征二维膜层结合力时会受到尺寸效应和测试数量的局限性;而本申请实施例在执行完步骤S01-S03后(即执行完压痕法的步骤后),将测试样品制备成满足条件的透射电镜检测样品,而后进行透射电镜观测,确定所述至少两个载荷分别对应的膜层损伤类型,如此,步骤S01-S03中的测试样品可以不受透射电镜对样品的尺寸要求,从而可以对大尺寸样品执行压痕实验,进而可以依规律进行大量统计。
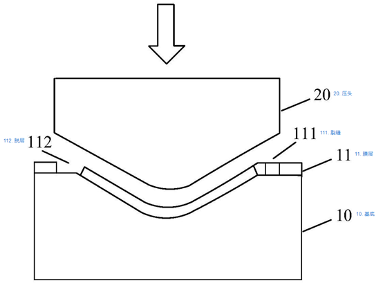
所述压头的尖端可以由硬质材料制成,例如金刚石或SiC。所述压头的形状可以是楔形或圆柱形等。

所述纳米压痕设备通电后,可以通过提供电流控制施加在所述压头上的载荷(如图中箭头所示),使得所述压头产生向下的位移。所述压头向下压向并进入所述测试样品的表层,例如进入所述膜层11。借助于位移传感器可以测量得到所述压头的位移,进而反映出产生压痕的深度。计算机接收来自位移传感器的输出,指示所述压痕的深度。
原文说明:本文内容节选自网络公开专利(CN112362471A)。

